Применение борфрез по металлу в зависимости от формы
Содержание
Борфрезы по металлу. Применение
Борфрезы широко используются во многих отраслях, среди них - аэрокосмическая отрасль, судостроение, машиностроение, производство инструмента, автомобильная промышленность, стоматология и многие другие. Сегодня рассмотрим инструменты адаптированные для работы по металлу на станочном оборудовании. Данная оснастка предназначена для работы на высоких скоростях - при частотах вращения шпинделей до 65 000 об./мин.
Борфрезы по металлу применяются для:
-гравировки;
-снятия излишков материала с заготовок;
-снятие фаски;
-литья;
-удаления заусенцев;
- создания отверстий сложной формы;
- обработки сварных швов;
-выполнения технологически сложных операций в труднодоступных местах.
Конструкция борфрез
Борфрезы имеют несложную форму. Конструкция состоит из хвостовика и рабочей части - головки. Рабочая часть имеет разную форму в борфрезы в зависимости от выполняемых операций.
Выбор формы зависит от поставленных задач, типа обработки, обрабатываемой поверхности. Борфрезы разной формы способны выполнять сложную обработку труднодоступных поверхностей. Рассмотрим возможности применения борфрез в зависимости от формы Принятие решения относительно того, какую форму фрезы использовать, зависит от формы рабочей части.

Борфрезы цилиндрической формы применяют для обработки кромок, фасок, обработки плоскостей, зачистки заусенцев. Цилиндрические борфрезы с торцевым зубом позволяют так же обрабатывать уступы.
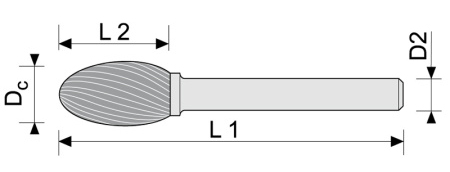
Сфероцилиндрические борфрезы (С)
Сфероцилиндрическая форма фрез подбирается для обработки радиусных переходов.
Эту форму выбирают для создания полостей-углублений, работы в труднодоступных местах. Но не только, также борфрезами этой формы зачищают сварные швы, обрабатывают фасонные поверхности

Борфрезы с овальной головкой можно использовать для обработки фасонных поверхностей и зачистки сварных швов или для подготовки поверхностей под сварку.
Сфероконическая (гиперболическая) с закругленным концом (F) и Сфероконическая (гиперболическая)с заостренным концом (G)


Борфрезы данного типа используются для обработки труднодоступных поверхностей ,закругления краев и создания вогнутых канавок.

Пламевидная или как ее еще называют- факел.Такая форма применяется в условиях ограниченной маневренности для обработки сварных швов и фасонных поверхностей.
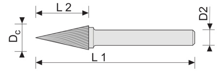
Коническая с конусностью 60° (J) и Коническая с конусностью 90°(K)
Борфрезы такого типа применяются пи зенковании- снтия фасок,обработк кромок
Коническая с закругленным концом (L) и Коническая с заостренным концом (M)

Используются для финишной обработки в труднодоступных местах , для закругления краев,при работе с острыми углами и контурами.
Конические в форме обратного конуса (N)
Борфрезами данного типа обрабатывают пазы, уступы, углы, используют для снятия фаски с задней стороны.
Производственная компания «Русский инструмент» предоставляет широкий выбор твердосплавных борфрез нашего производства ТМ Beltools. Ознакомится с ассортиментом и получить консультацию по подбору оснастки можно на нашем сайте beltools.ru или по телефону +7 (800) 350-56-58 . Наши консультанты помогут с подбором инструмента под конкретные целевые задачи.

